Confirm the installing position of the display unit

Vehicles cannot be installed

It may be possible to install if it can avoid the following by adjustment for slider position and display height.

Lever operations are interfered such as shift lever, wiper lever, winker lever when install the unit.

A hazard switch is hidden from a driver seat.

The display unit hits a panel on the vehicle.

  1. The Display unit can move 30 mm to the left or right. It can be installed if it doesn't interfere with lever operation when moving.

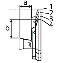
Distance between the display unit and the main unit

Adjust slider position and display height so that it does not interfere with display movement.

Slider position

Display angle

-10°

45°

Back position

 

a

b

 

a

b

 

c

d

1

10.8

126.5

1

30.0

123.6

1

25.6

20.9

2

13.4

111.8

2

108.6

2

15.0

31.8

3

16.0

97.2

3

93.6

3

4.4

42.1

4

18.6

82.4

4

78.6

4

-6.2

52.7

Forward position

 

a

b

 

a

b

 

c

d

1

29.8

126.5

1

49.0

123.6

1

44.6

20.9

2

32.4

111.8

2

108.6

2

34.0

31.8

3

35.0

97.2

3

93.6

3

23.4

42.1

4

37.6

82.4

4

78.6

4

12.8

52.7

Unit: mm

Main unit allowable installation angles

Installed horizontally

Installed vertically

To install with the main unit separated from the display unit

  • The KS-UA50 extension cable (150 cm / 4.9 ft, sold separately) is required to connect the display unit (accessory ).
  • [F] : Front side of the vehicle
  • Pitch : 0° – 40° (horizontally), ±20° (vertically)
  • Roll/Yaw : ±5°